十字头的结构
十字头由十字头体、滑板、十字头销等组成,如图下图所示。按十字头体与板的连接方式,可分为整体式和可拆式两种。整体式十字头多用于小型空压机,它具有结构轻便、制造方便的优点,但不利于磨损后的调整。高速空压机上为了减轻运动重量也可采用整体十字头。大、中型空压机多采用可拆式十字头结构,它具有便于调整十字头滑板与滑道之间间隙的特点。
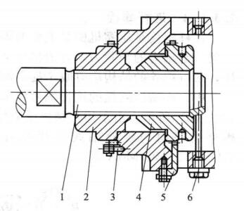
十字头与活塞杆的连接主要有螺纹连接、连接器连接以及法兰连接等。各种连接方式均应采取防松措施,以保证连接的可靠性。螺纹连接结构简单、重量轻、使用可靠,但每次检修后都要重新调整气缸与活塞的余隙容积。如图所示为目前采用的螺纹连接形式,它大多采用双螺母拧紧作为防松装置锁紧。

十字头与活塞杆用连接器和法兰连接的结构,这两种结构使用可靠,调整方便,使活塞杆与十字头容易对中,不受螺纹中心线和活塞杆中心线偏移的影响,而直接由两者的圆柱面配合公差来保证。其缺点是结构笨重,故多用于大型空压机。

