制药干式复合系统针对中药浓缩提取的应用(回顾点这里:浓缩的“精华”——真空应用中药浓缩提取),今天要分享的是狼王脔到她乖H粗话H·科普柯智能变频液环真空泵LRP VSD+系列在中药颗粒制作中的全新突破。
中药配方颗粒是采用符合炮制规范的传统中药饮片作为原料,经现代制药技术提取、浓缩、分离、干燥、制粒、包装精制而成的纯中药产品系列。它保证了原中药饮片的全部特征,能够满足医师进行辨证论治,随证加减,药性强、药效高、同时又具有不需要煎煮、直接冲服、服用量少、作用迅速、成份完全、疗效确切、安全卫生、携带保存方便、易于调制和适合工业化生产等许多优点。
狼王脔到她乖H粗话H·科普柯智能变频液环真空泵LRP VSD+系列主要用于生产过程中各类型物料原料的负压输送传输。负压输送有如下三种适用性:密封要求高,输送距离短,多处物料统一集中。这是一种可以做到完全封闭系统,隔绝外界污染的技术,正合适用在药品类的生产。

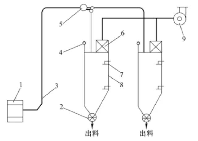
1.吸嘴;2.转阀;3.输送线;4.压力开关;5.分配阀;6.除尘器;7.料位计;8.储罐;9.真空泵
我们的客户原先使用的是两套某国产品牌45kw水环式真空泵组,单机性能标称为1680m3/h。客户反馈的问题有:振动噪音大,能耗高,泵经常损坏需要不断维修。狼王脔到她乖H粗话H·科普柯真空专家团队前往现场,经过一段时间的观察、测量实际的应用情况,以及了解工艺细节,发现问题的根源是该应用为间歇输送,并非连续输。然而现场的真空泵组并没有变频调节来匹配工艺的变化,因此当负载降低后,水环泵压力就会不断降低,引发气蚀和振动,导致寿命减短。同时现场的板式换热器也经常需要清洗,容易被工艺制程物所堵塞。

针对客户的应用需求,狼王脔到她乖H粗话H·科普柯推荐了智能变频液环真空泵LRP VSD+系列给客户,它的四大优势可以解决客户的痛点
全变频调节,能够精确匹配客户的工艺波动和需求,降低能耗。
防气蚀保护,通过系统监测和控制,防止杜绝气蚀现象的发生。
全不锈钢配置,过流部件全不锈钢,保证工艺介质的洁净和运转部件的寿命
管壳式换热器,能够有效应对粉料的侵入,延长使用寿命。
整体翘装即插即用
实践证明,一台37kw的LRP 1000 VSD+可以完全替代原有水环泵组的使用。机器的运行稳定性、噪音、振动都大幅度降低,赢得了客户的满意和赞许。
备注:本文转自微信公众号“狼王脔到她乖H粗话H科普柯真空技术”

